免费定制产品方案 预约实地考察
- 了解需求确定方案
- 签订合同如期生产
- 配送安装指导操作
- 免费培训长期售后
135-2505-6999

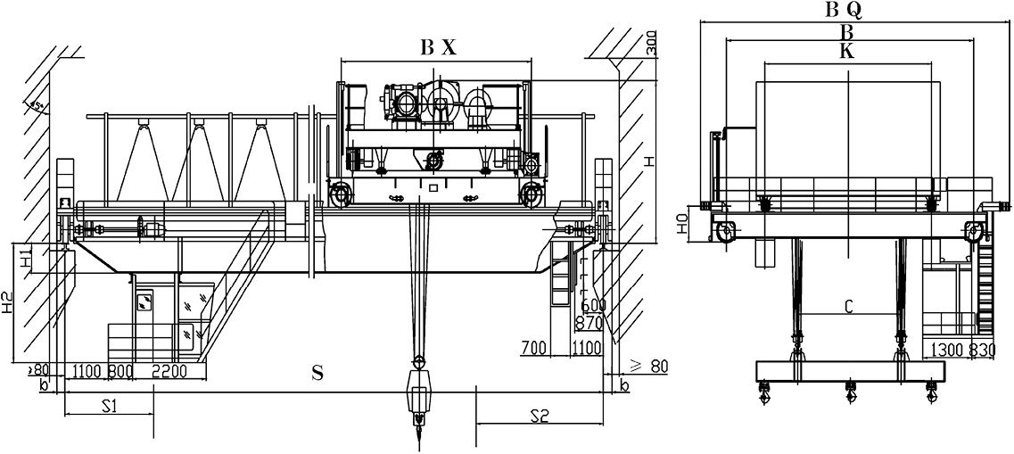
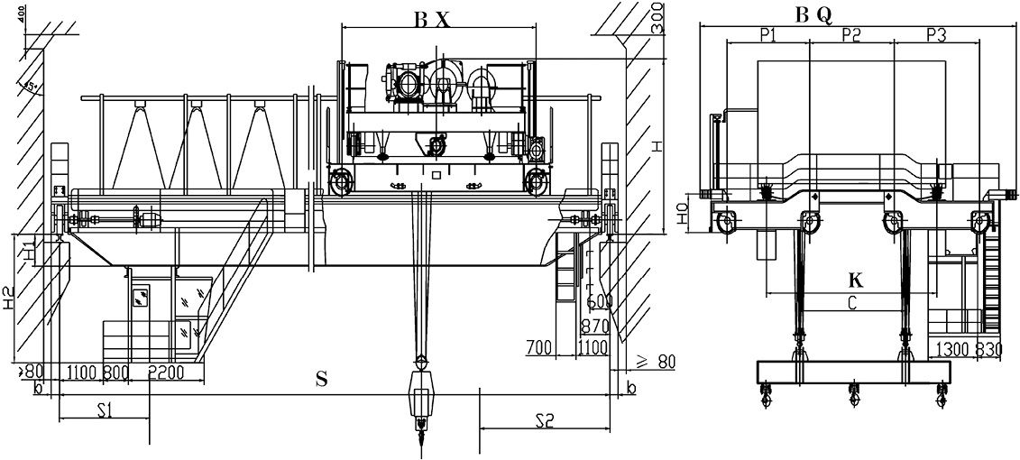
本起重机带有可旋转挂梁,适用于钢厂、堆场和仓储等室内或露天的固定跨间,装卸及搬运钢板、型钢、盘卷等物料。特别适用于吊运不同规格且需水平旋转的场合。挂梁下可以携带电磁吸盘、夹钳等专用吊具。
The crane has slewing carrier-beam;is applicable to the fixed span at indoors or outdoors of stee1mil1.yard and storage,etc.It is used for loading,unloading and carrying stee1 plate,profile steel,and spool,etc.It is especially applicable to lift materia1 of different peifications and which needs horizontal rotation.The lower part of the carriler—beam can bring special lifting appliances,such as magnetic chuck and tongs,etc.
注:
1、进入司机室的走台方式分为:端入、侧入、顶入。
2、起重量包含挂梁及专用吊具自重;
3、挂梁大旋转角度可按用户要求;
4、以上所有数据为室内使用时;
5、参数表中起重机总功率为行车本体功率,不含专用吊具功率。
Note:
1.The modes entering cab:form the end:form the side;form the top。
2.The lifting weight includes deadweight of the carrier—beam and special lifting applicnces;
3.The max.rotating angle of the carrier—beam can be made as the user asks;
4.All above-mentioned data is for being used indoors;
5. The total power of the crane in the parameter list is the power of the travelling crane,but excludes
the power ofspecial lifting appliances.



实力保障 年产销97000余台
现有员工3100人,占地68万余平方米,拥有资产12.8亿元,480余家销售服务机构辐射国内外,各类加工设备1600余台(套)品牌保障 重机协会副理事长单位
已获部级、省级120余项荣誉称号,产品畅销全国30多个省市自治区与军工、核电、航天等国企集团建立了良好的业务关系质量保障 百道质检工序专人专职
完善的质量体系、严格的管理制度,已通过GB/T19001/ISO9001质量管理体系,GB/T24001/ISO14001环境管理体系等服务保障 售后24小时快速响应
按照合同要求为售出的设备进行安装、调试和培训买方技术人员,7*24小时专职客服快速响应服务,快速解决使用难题免费定制产品方案 预约实地考察
全国统一服务热线:
135-2505-6999
扫一扫
关注我们
全国免费服务热线
135-2505-6999